|
3.4 LED and Alarm Indicators 4 Troubleshooting 5 Warehousing and dismantling 6 Technical specifications 7 Documents / Resources LEGRAND Keor Multiplug 800VA / 600VA Manual
This section contains important safety and operating instructions that should always be followed during the installation, use and maintenance of the UPS. This product should be installed in compliance with installation rules, preferably by a qualified electrician. Incorrect installation and use can lead to risk of electric shock or fire. Before carrying out the installation, read the instructions and take account of the product's specific mounting location. Do not open up, dismantle, alter or modify the device except where specifically required to do so by the instructions. All Legrand products must be opened and repaired exclusively by personnel trained and approved by Legrand. Any unauthorised opening or repair completely cancels all liabilities and the rights to replacement and guarantees. Use only Legrand brand accessories. Ensure that the mains supply voltage and frequency match those of the UPS (see the product label and the technical specifications). If any visible damage is found on the product during the unpacking operation, do not install the UPS but repack the unit and return it to your reseller or distributor. Before operating the UPS or connecting any load equipment, ensure the UPS is connected to a properly grounded mains socket. The load applied must not exceed the one indicated on the type label of the UPS. The ON/OFF button of the UPS does not electrically isolate the internal parts. To isolate the UPS, unplug it from the mains power socket. Since the non-detachable power supply cable acts as a separation device, the mains power supply socket shall be installed near the UPS and shall be easily accessible. In case of a mains power supply failure, do not unplug the power supply cable. Earth continuity must be ensured to the connected loads. Do not plug non-computer-related items such as medical, life-support and house electric equipments to the UPS output. Do not plug laser printers to the UPS back-up outputs because of their high start-up current. The UPS has its own internal energy source (batteries). If the UPS is switched on when no AC power is available, there is hazardous voltage at the output sockets. A battery can present a risk of electrical shock and burns by high short-circuit circuit current. Failed batteries can reach temperatures that exceed the burn thresholds for touchable surfaces. The following precautions should be observed when working on batteries: Remove watches, rings or other metal objects. Use tools with insulated handles. Wear rubber gloves and boots. Do not lay tools or metal parts on top of batteries. Disconnect the charging source prior to connecting or disconnecting battery terminals. Determine if battery is inadvertently grounded. If inadvertently grounded, remove source from ground. Contact with any part of a grounded battery can result in electric shock and burns by high short-circuit current. The likelihood of such shock can be reduced if such grounds are removed during installation and maintenance (applicable to equipment and remote battery supplies not having a grounded supply circuit). When replacing batteries, replace with the same type and number of batteries or battery packs. Do not dispose of batteries in a fire. The batteries may explode. Do not open or mutilate batteries. Released electrolyte is harmful to the skin and eyes. It may be toxic. Risk of explosion if battery is replaced by an incorrect type. Dispose of used batteries according to the instructions. The UPS has dangerous high voltages on its input and output connections. Contact with these voltages may be life threatening. In case of emergency, immediately turn off the equipment and disconnect the power cord from the AC power supply to disable the UPS. Do not allow any liquid or any foreign object to enter the UPS. The UPS is intended for indoor installation in a ventilated, controlled indoor environment with a range of temperature between 0°C (+32°F) and +40°C (+104°F) and non-condensing humidity <95%. Do not install the UPS in locations with sparks, smoke and hazardous gas or where there is water and excessive humidity. Dusty, corrosive, and salty environments can damage the UPS. Do not plug the UPS input into its own output. Do not attach a power strip or surge suppressor to the UPS. Ensure that the cables connecting the loads to the UPS are not longer than 10 meters. Keep a clearance of 20 cm beyond the UPS rear panel. Avoid exposing it to direct sunlight or installing it near heat emitting appliances. Unplug the UPS prior to cleaning and do not use liquid or spray detergent. Do not place the UPS near equipments that generate strong electromagnetic fields and/or near equipments that are sensible to electromagnetic fields. The battery of the UPS should be recharged every 2-3 months if unused. To do so, connect the power cable to a suitable grounded mains socket. The UPS is a category C2 products according to the EN 62040-2. In a residential environment, the equipment may cause radio interference, in which case the user may be required to take additional measures. Installation
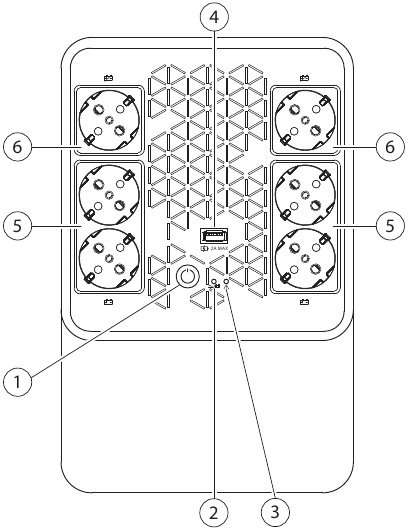
Start-up procedure Normal mode Ensure that the mains power supply to be used has a suitable voltage/frequency and an upstream protection rated at either 10A or 16 A. Plug the UPS power cord into the mains power supply socket. The blue led blinks for an instant. The UPS recharges its battery each time it is connected to a mains power supply (even if it is powered down). In this stand-by condition, it is also possible to use the USB charger port. It is recommended to charge the battery at least 4 hours before connecting the loads. Connect the loads to the output sockets. There are two different type of output sockets: 4 x back-up sockets: they are powered only when the UPS is on. If the mains power fail, the back-up sockets are battery powered. 2 x overvoltage protected sockets: they are powered also when the UPS is off. These sockets provide protection only from overvoltages. If the mains power fail, these sockets are not powered. Ensure that the power of the loads can be managed by the UPS. Press the ON/OFF button to start-up the UPS and power the loads. The blue and red leds are lit for 3 seconds along with a 3 seconds long acoustic signal. INDICATION Make sure the internal battery is fully charged. Connect the loads in the back-up sockets. Press the ON/OFF button to start-up the UPS and power the loads. The blue and red leds are lit for 3 seconds along with a 3 seconds long acoustic signal. After that, the blue led blinks once and there are two beeps. INDICATION Press and hold the ON/OFF button until the blue led turns off. The UPS stops powering the back-up outlets. Unplug the UPS from the mains power supply socket to stop powering also the overvoltage protected outlets. LED and Alarm Indicators NORMAL MODE/BATTERY MODE LED ALARM LED ALARM UPS STATUS Steady OFF OFF The UPS is operating in normal mode LED blinking every 3 seconds OFF OFF UPS operating in battery mode with battery status 40%-100% LED blinking every 3 seconds OFF 1 beep every 10 seconds UPS operating in battery mode with battery status 20%-40% LED blinking every 2 seconds OFF 1 beep every 2 seconds UPS operating in battery mode with battery status <20% Steady OFF Intermittent Overload in normal mode OFF Steady Continuously sounding UPS shutdown due to prolonged overload Steady Steady 1 beep every 10 seconds Battery fault OFF Steady Continuously sounding UPS fault (other than overload) Troubleshooting INDICATION POSSIBLE CAUSE SOLUTION Alarm LED ON
Remove the loads from the UPS outlets. Turn off the UPS and disconnect it from the mains. Connect the UPS to the mains and turn on again. If the problem persists, contact the LEGRAND Technical Support Service. Intermittent alarm sound with the UPS working in normal mode Overload Disconnect some non-critical loads from the UPS outlets until the overload ceases The UPS doesn't work in stored energy mode or the backup time is shorter than its intended performance Low battery or battery fault If the backup time remains unsatisfactory after 8 hours of battery charging, contact the LEGRAND Technical Support Service The UPS is working normally but the loads are not powered - Check that all power cords are properly connected. If the problem persists, contact the LEGRAND Technical Support Service. The UPS works on battery mode even though the mains power is available The UPS fuse blew up Replace the fuse with a new one (T5AL250V) The mains power supply socket is not supplying power to the UPS Check that the UPS works on another socket. If so, have the initial mains power supply socket checked by a qualified electrician. Strange noise or smell UPS fault Shut down immediately the UPS. Unplug the UPS from the mains socket and contact the LEGRAND Technical Support Service. Warehousing and dismantling Warehousing The UPS must be stored in an environment with a room temperature between +20°C (+68°F) and +25°C (+77°F) and humidity less than 95% (not condensing). The battery installed inside the UPS is lead/acid sealed and does not require maintenance (VRLA). The battery should be charged for 8 hours every 3 months by connecting the UPS to the mains supply socket. Repeat this procedure every two months if the storage ambient temperature is above +25°C (+77°F). The UPS must never be stored if the battery is partially or totally discharged. LEGRAND is not liable for any damage or bad functioning caused to the UPS by wrong warehousing. Dismantling Dismantling and disposal operations may only be done by a qualified electrician. These instructions are to be considered indicative: in every country there are different regulations with regard to the disposal of electronic or hazardous waste such as batteries. It is necessary to strictly adhere to the standards in force in the country where the equipment is used. Do not throw any component of the equipment in the ordinary rubbish. A battery may constitute a risk of an electric shock and high short-circuit current. When working on batteries, the prescriptions indicated in "Safety and Operating Instructions" section are to be adhered to. It is important to dismantle the various parts the UPS consists of. For these operations, Personal Protective Equipment must be worn. If the dismantled components must be stored before being properly disposed, be careful to keep them in a safe place protected from atmospheric agents to avoid soil and groundwater contamination. For the disposal of electronic waste it is necessary to refer to the industry standards. Technical specifications 3 100 813 100 83 3 100 82 3 100 84 General characteristics Nominal power (VA) 600 800 Active Power (W) 360 480 Technology line interactive (VI) Waveform simulated sinewave (battery mode) Transfer time 2-6 ms (typical) Input characteristics Connection non-detachable cable 3x0.75mm2 with German/French standard plug Rated voltage 230 V Range of voltage 170 V - 280 V Rated frequency 50 / 60 Hz ± 5 Hz with auto-sensing Rated current 2.8 A 3.5 A Output characteristics Outlets 4 x CEE 7/3 with battery back-up and overvoltage protection 2 x CEE 7/3 with overvoltage protection 4 x CEE 7/5 with battery back-up and overvoltage protection 2 x CEE 7/5 with overvoltage protection (3 100 83 / 3 100 84) Rated voltage 230 V ± 10% (battery mode) Rated frequency 50 / 60 Hz ± 1 Hz with auto-sensing (battery mode) Efficiency up to 98% Overload capacity From mains: automatic shutdown after 5 minutes with load>100% automatic shutdown after 5 seconds with load>120% immediate shutdown for shortcircuit From battery: immediate shutdown Battery Number of batteries 1 Battery type lead-acid sealed without maintenance (VRLA) Unitary capacity 12 Vdc - 7.2 Ah Rated Battery Voltage 12 Vdc Backup time 10 min (calculated with one typical workstation) Protection against total discharge Typical recharge time 4-6 hours Communication and management Interface one pushbutton and two LEDs Alarms Visual (LED), Audible (buzzer) Protections Against overload, overvoltage and short-circuit Replaceable input fuse (T5AL250V) Backfeed Overtemperature Mechanical characteristics Dimensions W x H x D (mm) 190 x 89.5 x 296 Net weight (kg) 5 5,5 Environmental conditions Operating temperature +0 ºC to +40 ºC +32 ºF to +104 ºF Operating relative humidity <95% (non-condensing) Storage temperature +20 ºC to +25 ºC +68 ºF to +77 ºF Noise level at 1 m < 40 dB IP code IP 20 Reference directive and standards Safety 2014/35/EU Directive EN 62040-1 EMC 2014/30/EU Directive EN 62040-2 Documents / ResourcesDownload manual Here you can download full pdf version of manual, it may contain additional safety instructions, warranty information, FCC rules, etc. Download LEGRAND Keor Multiplug 800VA / 600VA Manual (责任编辑:) |












